一步步教你配置MySQL远程访问,mysql远程访问
前言
在使用MySQL数据库的时候,有时候需要客户机直接远程登陆服务器的数据库 ,而不是将请求发给数据库服务器。这时候就需要配置下MySQL的远程访问权限了。具体的配置方法也很简单,随便找个搜索引擎基本都能找到搜索到一堆配置MySQL数据库远程登陆的教程了。
步骤
网上介绍的步骤基本分为两步:
修改my.cnf配置文件
mysql的配置文件一般在/etc/mysql/my.cnf 里,打开查看其配置,其中有这么一段:
# Instead of skip-networking the default is now to listen only on # localhost which is more compatible and is not less secure. bind-address = 127.0.0.1
这个bind-address就是绑定IP,也就是默认只允许本机登陆。为了能够实现远程登陆,显然需要把这句话注释掉。修改完重启mysql服务。
添加用户权限
按照需要,为指定用户、IP设置对应的权限即可
mysql>GRANT ALL PRIVILEGES ON A.B TO 'user'@'%'IDENTIFIED BY ‘password' WITH GRANT OPTION; mysql>FLUSH PRIVILEGES
这里把数据库A的B表的所有权限都授予来自任意主机(‘%')的user以密码'password'登陆。
或者直接修改mysql数据库中的user表使其满足要求。
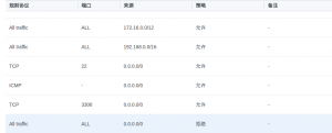
上面就是理论上需要做的了,然而我照着这个弄完了发现还是连接不上。折腾了半天,终于发现原来服务器的提供商为了保证服务器的安全性,还额外对端口的开放进行了限制。比如腾讯服务器就设置了一个安全组,额外限制了开放的端口,默认是禁止开放mysql的3306端口的,因此要打开控制台,配置好权限:

其他都是默认的,只要额外添加倒数第二行的就行了。。。
总结
以上就是这篇文章的全部内容了,希望本文的内容对大家的学习或者工作能带来一定的帮助,如果有疑问大家可以留言交流,谢谢大家对帮客之家的支持。
本站文章为和通数据库网友分享或者投稿,欢迎任何形式的转载,但请务必注明出处.
同时文章内容如有侵犯了您的权益,请联系QQ:970679559,我们会在尽快处理。